Método de detección de manipulación fraudulenta en el bornero de contadores de energía eléctrica
Resumen
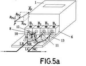
Método de detección de manipulación fraudulenta en el bornero de contadores de energía eléctrica. Permite determinar la posible manipulación de un contador sin necesidad de desmontar la tapa cubrebornes (2) ni romper un precinto (7) con el que se fija la unión de dicha tapa (2) y la parte fija (1) del contador. El método comprende las etapas de determinar un punto P de referencia en el exterior del contador; medir el campo magnético en una pluralidad de n puntos P1 ...Pn entre los que se encuentra el punto P, con el contador cerrado; obtener un indicador (I1,I2) correspondiente a una combinación de valores de campo magnético obtenidos en al menos dos de los puntos P1...Pn; determinar, en función del valor del al menos un indicador (I1, I2), la presencia o ausencia de campos magnéticos generados por la modificación de alguna de las conexiones de bornes del contador.
